南京可以打跑的包吹养生馆,宁波高端海选喝茶VX,芜湖品茶QQ联系方式
门户首页
走进渤海
产品中心
新闻中心
企业资质
工程业绩
人力资源
在线留言
联系我们
产品列表
蝶阀
闸阀
截止阀
止回阀
球阀
过滤器
旋塞阀
减压阀
调节-平衡阀
柱塞阀
排气阀
其他阀门
快速导航
公司简介
企业文化
公司新闻
行业资讯
人才理念
企业招聘
>>
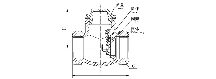
H14T-16型旋启式止回阀
用途:本阀作防止介质逆流的单向启闭用。
上一页:
H42H-16型立式止回阀
下一页:
公司名称:上海渤海阀门有限公司 公司地址:上海市嘉定区嘉松北路4558号 联系电话:021-69746026
传真:021-69746025 邮箱:
shbhvalve@163.com
网站建设 上海渤海技术部
站点地图
品质如金、质量为本、协同合作、互利共赢
沪公网安备 31011402008294号
ICP证:沪ICP备13024883号-1
主站蜘蛛池模板:
民丰县
|
夏津县
|
沙田区
|
宣武区
|
扬中市
|
古浪县
|
无锡市
|
阿巴嘎旗
|
鄄城县
|
东乡族自治县
|
永胜县
|
鄯善县
|
集安市
|
天水市
|
清新县
|
剑河县
|
镇平县
|
阿鲁科尔沁旗
|
东丰县
|
景泰县
|
象山县
|
屏边
|
靖宇县
|
永顺县
|
芮城县
|
天台县
|
饶河县
|
河曲县
|
历史
|
四会市
|
固镇县
|
巴马
|
吉水县
|
太湖县
|
石阡县
|
凤山县
|
安泽县
|
永年县
|
三江
|
基隆市
|
历史
|