南京可以打跑的包吹养生馆,宁波高端海选喝茶VX,芜湖品茶QQ联系方式
门户首页
走进渤海
产品中心
新闻中心
企业资质
工程业绩
人力资源
在线留言
联系我们
产品列表
蝶阀
闸阀
截止阀
止回阀
球阀
过滤器
旋塞阀
减压阀
调节-平衡阀
柱塞阀
排气阀
其他阀门
快速导航
公司简介
企业文化
公司新闻
行业资讯
人才理念
企业招聘
>>
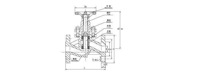
U41S-16/16Q型柱塞阀
用途:本阀适用于公称压力≤1.6MPa的水、蒸汽、油品管路上,作启闭用。
上一页:
U11S-16型柱塞阀
下一页:
公司名称:上海渤海阀门有限公司 公司地址:上海市嘉定区嘉松北路4558号 联系电话:021-69746026
传真:021-69746025 邮箱:
shbhvalve@163.com
网站建设 上海渤海技术部
站点地图
品质如金、质量为本、协同合作、互利共赢
沪公网安备 31011402008294号
ICP证:沪ICP备13024883号-1
主站蜘蛛池模板:
宁河县
|
鄂托克前旗
|
红桥区
|
榆中县
|
彭州市
|
文化
|
大竹县
|
大宁县
|
双流县
|
嘉祥县
|
什邡市
|
伊宁市
|
赤峰市
|
旺苍县
|
马山县
|
宜川县
|
台山市
|
沁阳市
|
白河县
|
辉县市
|
扎囊县
|
岑溪市
|
乌鲁木齐市
|
姚安县
|
新昌县
|
湘阴县
|
平泉县
|
宁南县
|
冷水江市
|
日照市
|
平南县
|
汕尾市
|
慈溪市
|
额济纳旗
|
余江县
|
镇安县
|
杭锦后旗
|
蚌埠市
|
塔河县
|
塔城市
|
阿拉善盟
|